Reggie Fils-Aime, Nintendo of America’s President and COO, took the stage Thursday at Variety’s Entertainment and Tech Summit to discuss the company’s immediate future, including the likely (and entirely predictable) shortage of Nintendo Switch this holiday season. According to Fils-Aime, who spoke briefly about the company’s plans for VR, there still isn’t any reason for Nintendo to go head-first into the medium.

“It’s technology that we have been looking at literally tens of years,” Fils-Aime told the crowd. “There’s not a lot of experiences yet that are truly fun.”
While Nintendo may still not be ready delve into the world of VR, the company seems more hopeful about augmented reality though, pointing to games like Pokémon Go as an example (despite the glaring fact that it really isn’t AR). “We have a lot of experience with AR. The potential for AR is here and now,” he said.
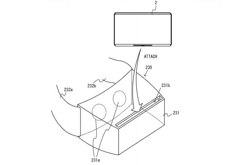
This isn’t the first time we’ve heard some wariness about VR coming from Nintendo. A year before the release of Switch, reports speculated whether the convertible home-to-portable device would also be used to drive VR experiences. Shortly before its release, a translated statement by Nintendo President Tatsumi Kimishima held that the company might “add VR to Switch once they figure out how users can play for hours without problems.” Despite Nintendo’s patent for a Cardboard-style headset fitting the Switch, there’s still no official VR support in sight. Combined with Fils-Aime’s statement, it’s unlikely we’ll ever see it.

Nintendo’s Shigeru Miyamoto, the mind behind some of the company’s most iconic franchises, told USA Today last year he agrees “that adapting Mario to new platforms is a key to keeping him relevant, but we want families to play together, and virtual reality (which requires players to be closed off from the real world) doesn’t really fit well there. We also like people playing for a long time, and it’s hard to do that in VR.”
[irp]
In a strange twist of fate, Bandai Namco’s VR Zone arcade in Shinjuku, Japan currently plays host to a VR version of Mario Kart, which lets Vive-wearing arcade-goers race in a multiplayer kart sprint through Thwomps and Piranha Plants, while battling against an AI-controlled Bowser and Wario. As a move by Bandai Namco, the creators of the Mario Kart franchise, and not Nintendo itself, it’s unclear when we’ll see a VR version of the game available for general purchase.
Nintendo historically tends to keep its most iconic IP strictly exclusive to Nintendo hardware, so these sorts of edge cases may continue as the company feels out when the time is right to finally dive into VR.


