Sony Interactive Entertainment recently published a patent for a VR motion controller that look suspiciously similar to Valve’s Index controllers, aka ‘Knuckles. The news was first reported by LetsGoDigital (Dutch).
All products have patents, although not all patents go on to become products—it’s not clear whether the controller outlined in the 34-page Japanese language document is indeed destined to make its way into a bonafide piece of hardware, or if it’s simply a case of Sony planting a flag in the ground ‘just in case’.
What’s more, it’s also not clear whether this is indeed even intended for PSVR 2, Sony’s upcoming VR headset follow-up intended for use with the PS5 console. Let’s pretend for a second it is though, and talk a bit about the implications.
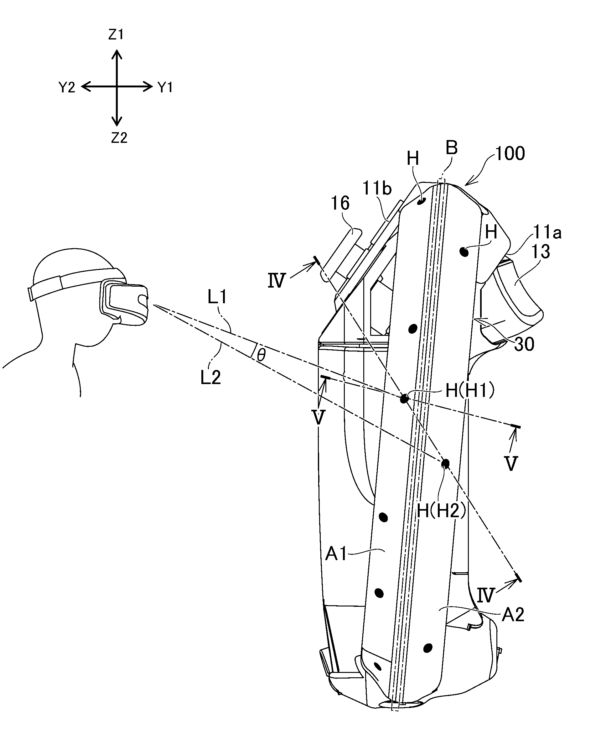
Filed with the World Intellectual Property Office (WIPO), the patent outlines a VR motion controller with embedded LED tracking markers, or similar to how Oculus Rift S and Oculus Quest track its respective Touch controllers.
The technical document also outlines that it could be tracked optically from the headset—again, very Oculus-like implementation here.

If that weren’t a stark enough contrast from the current PS Move controllers, as it would imply more reliable tracking that could include a which wider tracking volume than the front-facing PS Camera currently allows, it also presumes a more standard button layout with (gasp) a joystick. If you’ve ever dealt with the now seven year-old PS Move controllers for any length of time, you know how big of a deal that would be—and that’s for players and developers alike.
[irp posts=”98177″ name=”HP Reverb G2 Will Begin Shipping in November, New Orders in December”]
There’s no mention of finger tracking as with Valve Index Controllers, or a strap that would allow for open-hand gameplay, although the patent is more concerned with differing sensor configurations, detailing a cluster of 30 per controller.
Again, this may or may not be a PSVR 2 controller in the making, but it’s clear a more standard, optically tracked controller would be a big step in the right direction in bringing the platform’s capabilities in line with both the PC and standalone headset side of things. That’s of course provided the VR headset doesn’t rely on the upcoming PS5 HD Camera, which would bring up back to square one in terms of 360, occlusion-free tracking. Here’s to hoping.


